全自動無壓風門的制作方法
作者: 礦用風門來源: 互聯網
隨著國家對煤礦企業安全生產重視程度的不斷提高,煤礦安全生產是關系煤炭行業持續健康穩定發展的頭等大事,如何加強“一通三防”管理也越來越被重視,保證通風系統合理、穩定、可靠,現有技術的風門有效地控制了工作面的風流方向,保證了工作面風流的穩定性,避免了瓦斯積聚,將瓦斯突出事故的危害降到了較低點,但現有技術的風門自動功能較差,人員進出不方便,常常發生故障,安全性能較差。
目前,應用于煤礦井下的風門種類很多,普遍存在風壓較大時開啟困難,關閉沖擊力大,易發生擠傷人事故,同時風門故障率高,影響通風系統合理穩定,影響煤礦安全生產。
全自動無壓風門克服現有技術中不足,提供一種煤礦井下全自動無壓風門,開啟省力,不受風壓大小影響,結構簡單,方便實用,保證煤礦安全生產。
全自動無壓風門的制作方法
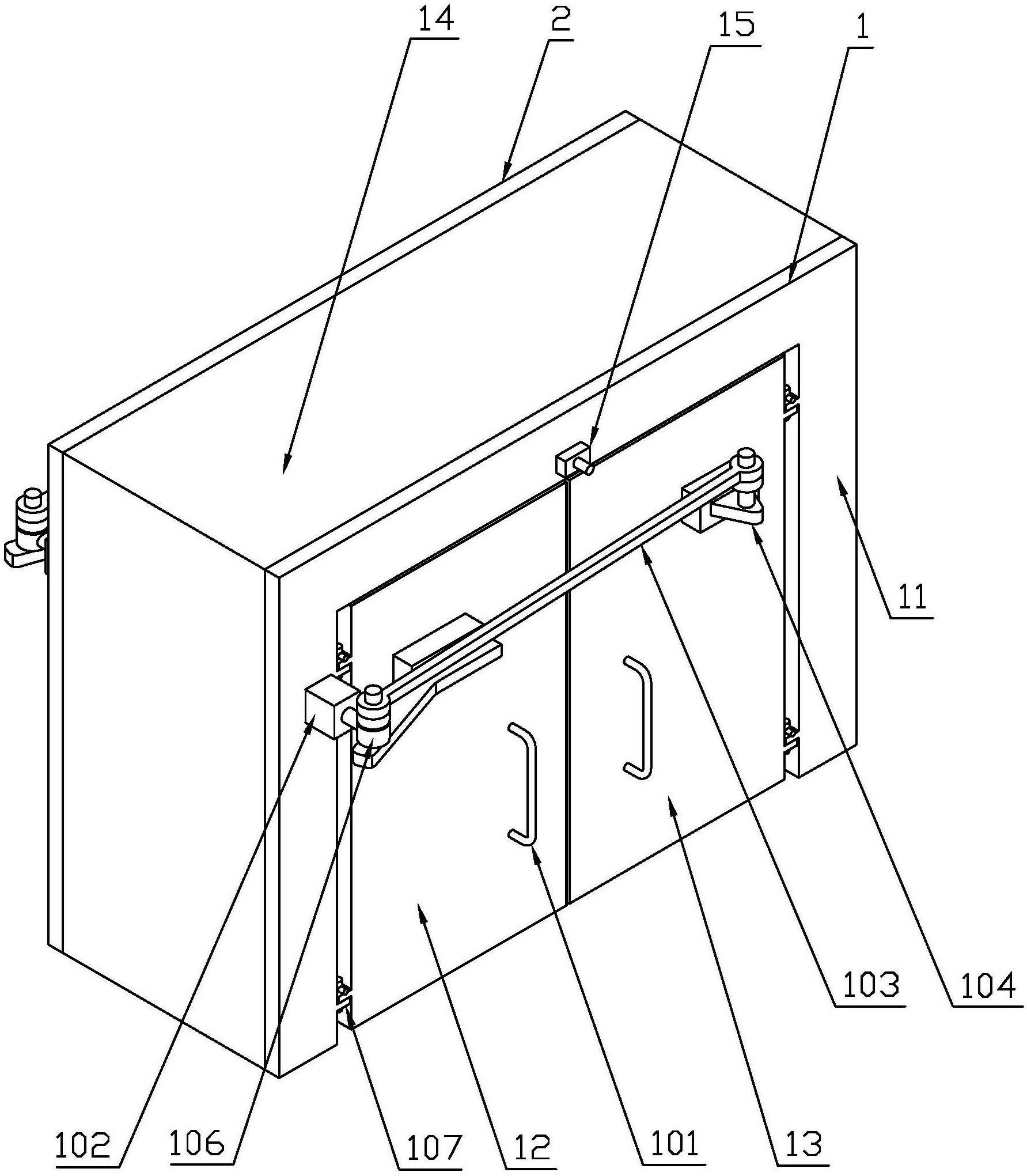
全自動無壓風門,包括門組Ⅰ、門組Ⅱ,所述門組Ⅰ和門組Ⅱ各包括門框、門板Ⅰ、門板Ⅱ,所述門框內側設有凸耳,門板Ⅰ一側設有凸耳,門板Ⅱ一側設有凸耳,門板Ⅰ和門板Ⅱ一側凸耳搭接在門框內側凸耳上,門板Ⅰ一側凸耳和門框內側凸耳通過銷釘固定連接,門板Ⅱ一側凸耳和門框內側凸耳通過銷釘固定連接,門框與門板之間拆裝方便;門板Ⅰ和門板Ⅱ一側設有支臂,支臂上設有轉軸,轉軸上部設有連桿,形成聯動機構,門板Ⅰ支臂一側設有氣缸,氣缸固定連接在門框上,氣缸頭部設有圓環,所述圓環套接在支臂轉軸上,所述門板Ⅰ和門板Ⅱ上設有把手,門框上部設有攝像頭,當行人通過時,攝像頭傳出信號給氣缸,氣缸頂出,門板Ⅰ向一側開啟,在聯動機構的作用下,可使兩扇門板異向同時開啟,門板Ⅱ向另一側開啟,氣缸收縮兩扇門板同時關閉,開啟省力,確保了門板的開啟力與風壓大小及風向無關,達到了平衡內外風壓的目的。
優選的,所述門組Ⅰ和門組Ⅱ之間設有保護罩,門組Ⅰ、門組Ⅱ、保護罩可形成一個臨時避難場地,煤礦井下突發事件用于逃生,確保煤礦的安全生產。

全自動無壓風門的優點:
1)開啟省力,不受風壓大小影響,結構簡單,方便實用,保證煤礦安全生產;
2)攝像頭傳動信號,氣缸頂出支臂,門板開啟全自動,安全可靠,方便快捷;
3)門組Ⅰ和門組Ⅱ之間設有保護罩,形成一個避難空間,用于煤礦井下突發事件逃生。